Table of Contents
ToggleLanguage Settings
Bevor es mit den Spezialwerkzeug los geht möchte ich euch noch meinen Beitrag mit den Selbststudienprogrammen (SSP) von Audi hinweisen. Dort findet man alle mir bekannten SSP vom A7 Sportback sowie Quellen für andere Modelle vom VAG Konzern, auch die ganz alten.
Thema dieses Abschnittes sind ja Spezialwerkzeuge, da diese überwiegend mechanisch sind anbei mal eine PDF über Batterie Ladegeräte von VAG sowie eine Übersicht von Werkzeugfreigaben für den VAG Konzern, nur mal zum stöbern.
Schön das du da bist!
Bitte benutze deinen PC um den vollen Umfang dieser Seite zu genießen. Es erwarten dich viele Spezialwerkzeuge von Werner Weitner (MATRA), Bosch Automotive, Klann (Gedore), Rehobot, Proceq und nicht zu vergessen der VAG. Zu jedem Werkzeug findet man eine kurze Funktionsbeschreibung, mehrere Bilder sowie Gebrauchsanweisungen/Ersatzteillisten soweit vorhanden. Über Beschichtungen für spanendes Werkzeug (Bohrer, Gewindeschneider oder Fräser) kannst du dich hier ebenfalls informieren.
Spezialwerkzeug Spezialwerkzeug Spezialwerkzeug Spezialwerkzeug Spezialwerkzeug Spezialwerkzeug Spezialwerkzeug Spezialwerkzeug Spezialwerkzeug Spezialwerkzeug Spezialwerkzeug, Spezialwerkzeug, Spezialwerkzeug, Spezialwerkzeug, Spezialwerkzeug, Spezialwerkzeug, Spezialwerkzeug, Spezialwerkzeug, Spezialwerkzeug, Spezialwerkzeug, Spezialwerkzeug, Spezialwerkzeug, Spezialwerkzeug
Spezialwerkzeug
VAS 6811
Spezialwerkzeug Set zur Reinigung des Injektorschachtes nachdem der Injektor demontiert wurde. Erhältlich z.b. bei Autohaus Krammer .
Filzpolierkörper, Reinigungsbürste für Schacht und Dichtflächen Bürste können auf jeden der beiden Hand Griffe geschraubt werden. Der Einführtrichter verhindert das Dreck von den Bürsten beim heraus ziehen in den Ventiltrieb fällt zudem kann man diesen ebenfalls als Trichter benutzen um den Schacht mit Druckluft auszupusten, natürlich unter Berücksichtigung der PSA.
Mit einem Verschlussstopfen wird direkt nach der Demontage des Injektors der Kanal in den Brennraum verschlossen solange bis die Reinigung abgeschlossen ist.
Die Stopfen und Filzpolierkörper gibt es für Common Rail und Pumpe Düse Systeme, beides ist mehrfach im Koffer enthalten. Ersatzteile gibt es auch dafür.
Obwohl im Motorraum mit dem V6 TDI wenig Platz ist lässt es mit diesem Werkzeug dort sehr gut Arbeiten.
T10055
Gleithammer mit dem man selbst fest sitzende Injektoren ohne Schäden demontieren kann. Die da Injektoren beim V6 TDI "im Ventildeckel sitzen" gammeln die auch nicht wirklich fest.
Er wird einfach auf den Anschluss der Rail Leitung geschraubt, leichter geht es nicht.
Ein kleines aber feines Spezialwerkzeug. Wer Ersatz- und oder Einzelteile sucht wird in dieser PDF fündig.
VAS 6684
Mit diesem Set lässt sich die Rücklaufmenge der einzelnen Injektoren und somit dessen innerer Verschleiß messen.
Sowas gibt es von vielen Anbietern aber hier wieder der Unterschied man hat direkt den passenden Steckanschluss für den Injektor und muss nicht basteln.
Um diesen Test durchzuführen klemmt man die Rücklaufleitungen der Injektoren die man messen möchte bei ausgeschaltetem Motor ab, schließt die Leitungsadapter und Schläuche des Messkoffers an, hängt den Sammler an der Kette z.B. an den Fanghaken der Motorhaube und lässt den Motor eine definierte Zeit im Standgas laufen (ca 10 Sek).
Nach dem der Test abgeschlossen ist sollten, wenn alles gut ist alle Röhrchen in etwa gleich voll sein. Kleine Abweichungen gibt es immer durch den unterschiedlichen Verschleiß. Zylinder die Näher an der Kraft abgebenden Seite (Schwungrad) sind verschleißen eher was eine andere Beanspruchung der jeweiligen Injektoren nach sich zieht. Es gibt außerdem weiteres Spezialwerkzeug zur Prüfung der Kraftstoffqualität und der Hochdruckpumpe für Dieselmotoren.
VAS 6131
Mit dem Scherenhubtisch VAS 6131B lassen sich Motoren und Getriebe der modernen Aggregategeneration ohne zusätzliche Vorrichtung als Einheit schnell ein- und ausbauen. Dank der zahlreichen Aufnahme Sätze für diverse Motoren und Getriebe können alle größeren Motoren-Getriebe-Kombinationen ideal abgestützt und fixiert werden. In der Produktvorstellung der B Serie des Scherenhubtisches wird auf Neuerungen Aufmerksam gemacht, schlussendlich ist dieser dann im Workshop Catalog der VAG zu finden.
Gebaut wird dieser übrigens von der Firma Blitz unter dem Namen Aggregathubtisch Master Gear 1,2. Mehr dazu findet man in der Betriebsanleitung die auf Deutsch und Englisch verfügbar ist. Standardmäßig arbeitet der Hubtisch mit 230V, die Arbeitshydraulik ist von Hydac und sollten da mal Probleme auftreten gibt es diesen Schaltplan der bei der Fehlersuche hilft. Weil der A7 Sportback mit dem Biturbo Diesel ja Kern der Webseite ist hab ich es mir nicht nehmen lassen den Leitfaden zum Ausbau des Motors mit dem 0BK Getriebe (ZF: 8HP-55AF / Audi Intern: AL551-8Q / Tiptronic Steuerung) und wie die Antriebseinheit auf dem VAS6131 getrennt wird heraus zu suchen.
Alternativ gibt es den VAS 6131B auch von der Firma ATH Heinl, die Kerndaten sich nahezu gleich jedoch kann der von ATH Heinl noch 300kg mehr heben. Zudem existiert ein Video über den ATH T15 Scherenhubtisch erstellt von der Firma ATH Heinl in dem sehr gut die Funktionalität visualisiert wird.
VAS 6095A
Dieser Aggregatenträger ist für alle mit besonderen Ansprüchen.
Seine Features sind die stufenlose Höhenverstellung in einem Bereich von 200mm, 360° endlos drehen des Motors/Getriebes um die eigene Achse mit "Bremse" (kein Steckstift), GFK Ölwannen die den gesamten Bereich darunter abdecken sowie Ablagefächer für Kleinteile.
Das Eigengewicht liegt bei 110kg und die maximale Tragkraft bei 600kg. Montiert man den zusätzlichen Tragarm VAS 6095/1 liegt die Gewichts-Grenze bei 350kg. Das Gewichts des Tragarms VAS 6095/1 mit Traverse liegt bei mal eben weiteren 57,5kg. Den Tragarm macht genau eine Sache aus, man kann den Motor auf horizontaler Ebene endlos drehen. Es gibt 20 Aufnahmen zur Montage diverser Diesel und Benzin VAG Motoren. 15 davon stelle ich in Form einer PDF in Deutsch und Englisch jeden Interessenten zur Verfügung. Die restlichen 5 welche Abänderungen von vorhandenen sind, sowie sämtliche Erweiterungen für den Aggregatenträger stehen hier drin.
Es gibt ebenfalls Halter für Fahrzeugsitze, diverse Schaltgetriebe und Automatikgetriebe (Bsp. S Tronic 0B5 7 Gang). Leicht zu bekommen sind diese nicht mehr aber es gibt diese.
Das ist nichts was man unbedingt braucht aber darum geht es ja hier auch nicht, es ist ein Spezialwerkzeug.
Die Interne Ersatzteil Nummer von VAS 6095A ist übrigens ASE 456 004 000 00.
VAS 6100
Der Werkstattkran VAS 6100 wird verwendet zum Aus- und Einbau von Motoren und kompletten Antriebsaggregaten sowie zum Heben und Transportieren von Lasten aller Art. Die Tragkraft liegt je nach Auslage bei 700-1200kg bei einer Hakenhöhe von 2,38m. Der mobile Werkstattkran ist so gebaut das er optimal Lasten vom Scherenhubtisch VAS6131 aufnehmen kann da das Fahrwerk so breit gebaut wurde damit der Scherehubtisch zwischen den Stützen passt. So wie der Werkstattkran für vorhandenes Spezialwerkzeug gebaut wurde so entstand auch einiges Spezialwerkzeug für den VAS 6100 selbst. Gebaut wird der Werkstattkran von AC Hydraulic A/S die auch Herausgeber der Betriebsanleitung sind.
T40173
VAG Getriebeaufnahme die auf jedes Kfz Getriebe individuell eingestellt werden kann, es gibt 3 verschiedene Formen der Hartschaum Aufnahmen.
Man kann einen Tragarm komplett auf dem Gestell und alle Hartschaum Auflagen einzeln auf den Armen werkzeuglos beliebig einstellen. Außerdem ist es möglich den gesamten Träger ohne großen Kraftaufwand dank der Feingewindespindeln längst und quer zu justieren.
Mit diesen Einstellmöglichkeiten ist eine Anpassung jeglicher Art möglich um das Getriebe sicher zu demontieren.
Die VAG Aufnahme selbst kann auf einen Getriebeheber mit der Bezeichnung VAS 6139 montiert werden, man braucht je nach Heber dann einen Adapter der den Zapfen aufnimmt.
T10001
Kurz gesagt ist T10001 ein Werkzeugsatz für Instandsetzungsarbeiten an Federbeinen sowie an Stoßdämpfern. Der Fokus liegt dabei darauf den Zapfen der Kolbenstange vom Stoßdämpfer zu kontern während man die Sicherungsmutter mit Drehmoment anzieht, häufigste Praxis dürfte der Wechsel des Domlagers sein. Es gibt durchaus andere Methoden dafür das ist hier aber nicht Thema. Auf dem 5. Bild ist gut zu sehen welches Profil die Zapfen der Kolbenstangen oft haben, in verschiedenen Größen. Wie für fast jeden Werkzeugsatz der VAG sind auch hier Einzelteile erhältlich so das man keinen ganzes Set neu kaufen muss wenn man etwas zu Bruch geht.
KL 0250-40 / VAS 6085
Wer sich schonmal mit der Demontage der Mehrlenker Vorderachsen des VAG Konzernes auseinander gesetzt hat kennt dieses Spezialwerkzeug bestimmt. Der mir bekannte Hersteller ist Klann-Gedore aber natürlich gibt es das auch vom VAG Konzern.
Es ist genau für die eine Schraube gedacht, die Klemmschraube (M10x110mm) die den Achsschenkel mit den oberen beiden Stabilisatoren verbindet.
Diese Schraube ist dauerhaft der Witterung ausgesetzt und da sich das ganze im Radkasten über dem Rad selbst befindet, bekommt diese auch genug davon ab. Dazu kommt das es ein Aluminium Druckguss Achsschenkel und eine Stahl Schraube ( Zink Lamelle beschichtet) ist. Irgendwann gehen die eine stoffschlüssige Verbindung ein.
Wer sich für mechanische Schrauben Sicherungssysteme, die richtige Handhabung sowie Schrauben an sich und dessen Festigkeitsklassen interessiert für den haben die Links am Satzanfang ein paar nützliche Inhalte.
Man möchte diese Schraube lieber umgehen aber wenn diese doch mal raus muss ist dieses Werkzeug das richtige dafür.
Es gilt jedoch ein paar Dinge zu beachten bei der Handhabung!
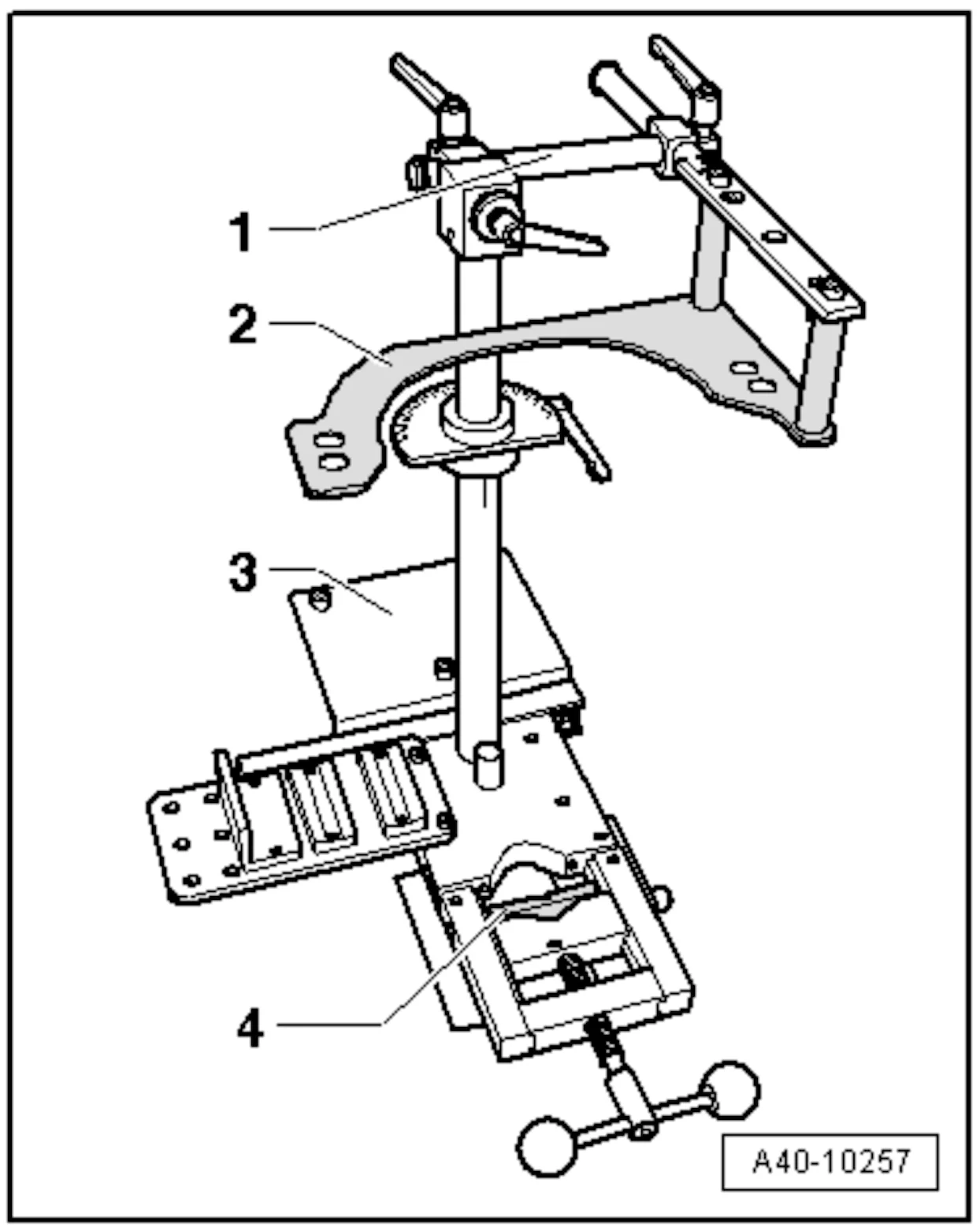
VAG 1752-2
Dieser Federbeinspanner ist für VW/Audi Fahrzeuge ab BJ 1990 geeignet. Mit diesem Werkzeug wird sicher gestellt das die Feder- und Dämpferbeine sauber und korrekt eingespannt werden können um die nötigen Einstellarbeiten durchzuführen.
Die Spannvorrichtung kann fest an einer Werkbank montiert oder mobil an einem geeigneten Schraubstock befestigt werden. Da das Eigengewicht bei ca 22kg liegt sollte dieser jedoch entsprechend dimensioniert sein.
Bestimmte Feder- und Dämpferbeine müssen vor dem Einbau eingestellt werden, ein gewaltsames verdrehen im zusammengebauten Zustand zerstört innenliegende Dichtungen und das führt zum völligen Ausfall der Dämpfung und zieht unter Umständen noch Leckagen nach sich. Ein weiterer Punkt ist das nur im korrekt eingestellten Zustand sich die Stoßdämpfer Einheit spannungsfrei montieren lässt. Baut man diese unter Spannung ein, weil der Verdrehwinkel am Domlager nicht stimmt, führt dies zu Dröhngeräuschen und falschem Fahrverhalten.
Als Ergänzung gibt es 3 verschiedene Einstellehren + Zubehör wie Klemmbacken, Fixierschrauben oder Dorne für die jeweiligen Stoßdämpfer der Fahrzeuggruppen. Für den Audi A4 B5 Bj 1996 - 2001 wird die Lehre mit der Klann Nr. KL-0255-10 / VAG Nr. VAG 1752-8 benötigt.
Weiterführend gibt es noch die Werkzeugkataloge von Gedore Klann für den PKW Bereich und spezialisiert auf VW & Audi.
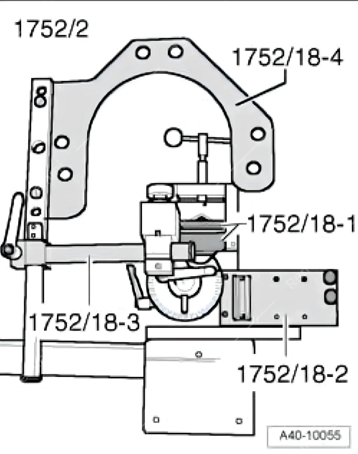
Um die Domlager an einem A6 4F Bj 2004 - 2011 bzw. Fahrzeuge mit der gleichen Plattform ( A7 C7 Bj 2010 - 2018) im korrekten Verdrehwinkel einzubauen wird der Satz KL 0255-11 bzw. VAG 1752-18 gebraucht.
Zu guter letzt gibt es da noch das Set mit der Bezeichnung KL 0255-12 / VAG 1752-19 was für den Audi A4 8K Bj 2007 - heute & den A5 8T Bj 2007 - heute bestimmt ist.
Beim Audi A4 8D braucht mein keine weitere Einstellehre, dort wird das Federbein mit einem Dorn verstellt. Genaueres gibt es hier in einer meiner PDF´s zu lesen.
Wer sich aber lieber mal ein Video dazu anschaut wo der Federbeinspanner und das Spezialwerkzeug KL 0250-40 in Aktion gezeigt wird, dem leg ich das hier ans Herz.
VAS 6179
Streng genommen ist es kein wirkliches Spezialwerkzeug, lediglich eine pneumatisch angetriebene Hydraulikpumpe aber eben von der VW AG.
Diese wird zum betreiben von Hydraulikzylindern benutzt womit Radnaben,Radlager, Gummi-Metall Lager im Fahrwerk oder sonstige fest sitzende Bauteile meist unbeschädigt ersetzt werden können.
Es gibt dafür einiges an Zubehör, sowohl von VW als auch aus dem Nachbau welches keinesfalls schlechter ist nur wie überall gibt es guten und schlechten Nachbau.
Ein paar der von mir verwendeten Zylinder und Zubehörteile findet man weiter unten.
VAS 6179/1
Die Werkzeug Kennung umfasst nicht nur das Manometer sondern ebenfalls den Hydraulik Schlauch sowie dessen Kupplungen die auf den Druck von bis zu 700bar, welchen die Pumpe erzeugen kann, ausgelegt sind.
Die Kupplungen jedoch habe ich ausgetauscht damit diese zum Rest der Ausrüstung passen. Welche das sind habe ich weiter unten aufgeführt.
KL 0040-2500 / KL 0040-2800
Sind diese Hydraulikzylinder ein Spezialwerkzeug?
Es gibt viele gute Hydraulikzylinder auf dem Markt, die Teilweise für einzelne Aufgaben sogar besser geeignet sind. Diese beiden schätze ich aber mehr weil sie eben für alles benutzt werden können und dank ihrer Hohlkolben Bauart die Aufgaben genauso gut erledigen. Geht es ums drücken oder ziehen den Hohlkolben dreht man einfach um und falls die Gewindestange mal nicht so lang ist sei es aus Platzgründen verfügt der kleine über ein M20 und der große über ein M24 Innengewinde.
Hydraulikzylinder dieser Baureihe gibt es von 10t bis 28t mit zahlreichen Zubehör, die deutsche und englische Version findet man als PDF unter dem jeweiligen verlinkten Text.
Parker Kupplung / Stecker mit Tomason Adapter
Für dieses Stecksystem habe ich mich entschieden weil es einfach schneller geht als das Schraub-System von Gedore. Die Kupplung sowie den Stecker findet man beim selben Händler und im Vergleich zu anderen sind hier die abgebildeten Staubkappen auch mit dabei.
Für den Adapter muss man dann doch noch zu einem weiteren Händler switchen wenn man unbedingt diesen möchte.
Achslagerung
3301
Der Montagesatz 3301 wird zum Aus- und Einbau des Gummimetalllagers am Hilfsrahmen der Hinterachse bei diversen VAG Modellen verwendet. Aus Platzgründen ist der Austausch ohne hydraulische Unterstützung sondern nur in Form der Gewindespindel vorgesehen, da diese jedoch mit einem Drucklager bestückt ist erleichtert dies die Handhabung. Ebenfalls benötigt man den Montagesatz 3346 und T40185 welche als nächstes vorgestellt werden. Es sind auch Einzelteile für diesen Montagesatz erhältlich.
3346
Anders als bei 3301 wird der Montagesatz 3346 nicht nur zur Montage und Demontage des Gummimetalllagers am Hilfsrahmen der Hinterachse bei diversen VAG Modellen verwendet sondern ebenfalls zum Tausch der Lager von diversen Traglenkern, welche dies genau sind ist in den jeweiligen Reparaturleitfäden ersichtlich wobei sich hierbei die Frage stellt ob ein Neuteil nicht günstiger ist angesichts des Aufwandes der entstehen ''kann'' aber eben nicht muss. Wer Einzelteile für 3346 braucht, es ist lediglich die Spindel mit Muttern bei VAG erhältlich.
T40185
Bei der Montagevorrichtung T40185 handelt es sich um den 3. Satz an Druckstücken der für den Wechsel des Gummimetalllagers am Hilfsrahmen der Hinterachse bei diversen VAG Modellen laut der Reparaturanleitung neben anderem Handwerkzeug benötigt wird. Zugleich ist die Montagevorrichtung T40185 zum Wechsel des Hydrolagers vom Hilfsrahmen vorgesehen, es gilt jedoch zu beachten das nach dem Wechseln der Hydrolager eine Achsvermessung durchgeführt werden sollte.
T40184
Beim A7 und verwandten Plattformen besitzt nur noch der Achsschenkel der Hinterachse eingepresste Lager, um eines dieser beiden Lager zu erneuern braucht man unter anderem den Satz aus Druckhülsen und Platten mit der Bezeichnung T40184.
Die Hinterachse vom A7 Sportback ist eine Mischung aus Teilen vom Q5 sowie A8 ab Baujahr 2010 sowie Neuentwicklungen abhängig vom verbauten Fahrwerk (mehr dazu auf Beiträge unter Audi SSP in der Nr. 480 Fahrwerk Seite 6). Was außerdem an Handwerkzeug und Werkstattausrüstung empfohlen wird kann im Reparatur Leitfaden nachgelesen werden.
CAT 276-7018
Praktischer Koffer mit wieder verwendbaren konischen Stopfen mit denen nahe zu alles am Motor blind gesetzt werden kann. Die Größe der Stopfen fängt bei 2mm an und geht bis 58mm im Durchmesser. Die Plugs sind von außen und innen verwendbar was die Art der Anwendung weiter vervielfältigt. Zudem ist jede Größe auch einzeln nach bestellbar.
VAG Werkzeugkoffer
Irgendwo muss das ganze Spezialwerkzeug ja auch gelagert werden, was auch immer für jemanden Wert hat kann praktisch in diesen Universalkoffern verstaut werden. Sie sind stapelbar und in Größe 1 klein, 2 mittel und 3 groß erhältlich. Alles was bei der VAG größer und schwerer ist wird in solchen Koffern aufbewahrt. Es gibt zahlreiche Hartschaum und Weichschaum Einlagen für die jeweiligen Anforderungen. Der Hersteller der Koffer ist übrigens Raaco aus Dänemark.
T10093
Diese Führungsstangen sind ein Hilfsmittel um die Kühlermaske in die Servicestellung zu bringen um z.b. den Keilrippenriemen zu wechseln.
Beim 3.0 TDI geht das aber auch so, denn um die Kühlermaske in Servicestellung zu bringen muss die gesamte Frontschürze ab und beim A7 erster Generation sind die Scheinwerfer schneller ausgebaut als die Frontschürze ab, mal so nebenbei. Es gibt diese in verschiedensten Ausführungen.
T10205A
Viele Werkzeuge gibt es nahezu Baugleich von verschiedenen Vertriebsorganisationen, so auch den Radlager Werkzeugsatz T10205A der VAG. Neben SKF, welche den Arbeitsablauf in einem Video festgehalten haben, bietet die Paschke Profitec GmbH ebenfalls einen Radlager Werkzeug Satz für das Spektrum des T10205A an. Außerdem eine Übersicht verschiedener Werkzeugsätze passend für viele Automobil Hersteller. Das Spektrum vom Paschke Profitec Werkzeug Satz mit der Artikel Nr. 321003301 umfasst folgendes:
Den Aus- und Einbau aller Kompaktlager (Radlager-Nabeneinheiten) mit oder ohne Sicherungsring, mit Gewindebohrung oder Radbolzen Ø 62, 66, 72, 78, 85 (VAG) Ø 78 = z.B. Polo VI, T-Cross, Taigo, Arona, Ibiza, Scala, Kamiq, Audi A1 ab 2017. OE Nummer der Radlager Nabeneinheit: 2Q0407621A Ø 78, 82 (Volvo, Ford, Mazda) Ø 75 (Smart Forfour, Mitsubishi Colt) Ø 92 (Opel, Citroen, Toyota, Peugeot)
Wallmek Radlager Werkzeug
Abzieher Grundarm
Dieser Abzieher von Wallmek ist mit 22t belastbar und in dieser Version mit den Armen für den Achsschenkel vom A7 und verwandten Plattformen zum herausziehen vom Radlager Gehäuse gebaut worden. Es gibt bereits ähnlich Produkte jedoch muss dort die Antriebswelle etc. demontiert und der halbe Achsschenkel ausgebaut werden. Mit den weiteren gezeigten Zubehör ist dies nicht mehr nötig.
Lagergehäuse Abziehplatte
Die Lagergehäuse Abzieherplatte von Wallmek ist für 3 und 4 Loch Radlagergehäuse mit einem Lochkreis Durchmesser von 101-113mm für 3 Loch und Lochkreis Durchmesser von 106-140mm für 4 Loch Gehäuse geeignet. Teilweise können die Originalschrauben der Radlagergehäuse verwendet werden. Die Belastbarkeit liegt bei 22t über ein M22 Gewinde. Durch diese Abziehplatte ist es möglich das geschraubte Radlagergehäuse heraus zu ziehen ohne die Antriebswelle oder andere Bauteile hinter oder an dem Achsschenkel demontieren zu müssen. Lediglich Rad, Bremsscheibe und Bremssattel müssen abgebaut werden.
Radnaben Abzieher
Der Radnaben Abzieher von Wallmek ist für 4 und 5 Loch Radnaben mit Stehbolzen oder Radbolzen mit einem Lochkreis von 92-131mm geeignet. Die Belastbarkeit über das M22 Gewinde liegt in diesem Fall bei 18t. Zur Befestigung werden die Radbolzen oder Muttern benutzt, empfohlen wird ein Anzugsmoment von 80Nm. Der Abzieher ist entlang der Langlöcher bearbeitet damit der Konus der Bolzen/Muttern den Halter optimal zentriert.
T10473
Diese Folienkarte ermöglicht es den ABS Sensorring auf Schäden zu prüfen die mit bloßen Auge nicht unbedingt zu erkennen sind. Alternativ gibt es diese Karte auf von SKF, dort heißt sie dann VKN 604.
Der Fehler ist selten der Sensor Ring, ich kenne es von anderen Herstellern das sich der Sensor mit Bremsstaub zusetzt und dadurch keinen Impuls mehr an dem Ring messen kann. Sprich ABS Lampe im der Instrumententafel geht an.
VAS 6613
Der ESD-Arbeitsplatz (ESD = electrostatic discharge) dient zur Vermeidung elektrostatischer Aufladung, um eine Beschädigung an empfindlichen elektronischen Bauteilen, wie z. B. LED-Scheinwerfern zu verhindern. Die Tischmatte und das Handgelenksband erden den Mitarbeiter und schaffen einen Potentialausgleich.
Elektrostatische Entladung ist eine der häufigsten Ausfallursachen von Halbleiterelementen. Besonders empfindlich sind integrierte Halbleiter Bausteine und Leuchtdioden, die oft nur geringe Spannungen vertragen. Der Schutz gegen elektrostatische Entladung dieser Bauteile hat bisher in der Prozesskette von der Herstellung bis zum Austausch in den Werkstätten kontinuierlich abgenommen. Aus diesem Grund durften bisher elektrostatisch empfindliche Bauteile nur komplett getauscht werden.
Voraussetzung für die Durchführung solcher Reparaturen ist, neben einer größtmöglichen Sauberkeit und Sorgfalt, ein ESD-geschützter Arbeitsplatz. Realisiert wurde solch ein Arbeitsplatz durch die Betriebseinrichtung VAS 6613. Erst durch die Einführung eines ESD-geschützten Arbeitsplatzes wurde der Austausch von Einzelteilen in elektronischen Bauteilen möglich und eröffnet auch in Zukunft noch weitere Anwendungsmöglichkeiten.
VAS 6813
Es gibt zwei Möglichkeiten den Verschleiß einer Carbon Keramik Bremsscheibe zu messen, für die erste braucht man nur eine Feinwaage bis 10kg. Das Rad und der Bremssattel muss demontiert werden und schlussendlich die Bremsscheibe selbst, dann muss diese nass gereinigt und wieder getrocknet werden. Dann kann man diese wiegen und entweder liegt die Bremsscheibe noch über dem Mindestgewicht welches auf dem Topf steht oder sie muss ausgetauscht werden.
Die zweite und deutlich schnellere Möglichkeit ist man baut das Rad ab, legt das Messgerät von Proceq (VAS6813) auf und sieht dann sofort ob sich der gemessene Wert zwischen dem Min & Max wert befindet. Zu wissen gilt es die Bremsscheibe hat 3 markierte Messstellen an denen auch die Werte hinterlegt sind.
Das Porsche Zentrum Hamburg hat dazu ebenfalls ein Video erstellt in dem Service Techniker Dennis Schwalbe demonstriert wie man das Werkzeug anwendet.
Dieses Werkzeug ist sehr teuer und daher auch sehr gut verpackt/geschützt in einem Transportkoffer wie man das bei VW gewohnt ist. Das Gehäuse vom Werkzeug selbst entspricht der Schutzklasse IP 54. Wer nicht weiß was das bedeutet kann es unkompliziert nachlesen.
Ist die Oberfläche einer Keramikbremsscheibe beschädigt gilt es diese genau zu überprüfen. In diesem Technical Update zeigt Audi selbst die Grenzen der möglichen Beschädigungen auf.
Spiralbohrer Beschichtungen
Möchte man Werkstoffe mit speziellen Legierungen spanend bearbeiten empfiehlt es sich Bohrer mit den dafür ausgelegten Beschichtungen zu verwenden. Nicht nur um ein sauberes Ergebnis zu erhalten, minderwertige Bohrer können auch einfach mal abbrechen wenn der Werkstoff zu hart ist. Wer da überhaupt nicht im Thema ist für den habe ich hier mal die Grundlagen.
Diese Beschichtungen fangen an bei der Titan Nitrit (TiN), wobei das erst genannte Element den größeren Anteil in der Legierung hat, weiter geht es mit der Titan Aluminium Nitrit Legierung (TiAlN) gefolgt von Aluminium Titan Nitrit (AlTiN) danach kommt Titan Carbon Nitrit (TiCN) und übertroffen in der Gesamtleistung wird diese nur noch durch die Ruko Nano Technology Beschichtung (RUnaTEC) Legierung welche eine Eigenentwicklung der Firma RUKO ist.
Wind- und Schneideisenhalter der Marke GSR
Auch die einfachsten Werkzeuge gibt es in einer guten und schlechten Ausführung. Die Firma GSR hat sich Ihre eigenen Produkte nochmals angesehen, verbesserungspotential fest gestellt und es kurzer Hand umgesetzt. Das Ergebnis sieht man auf den Bildern und im selbst produzierten Video ist dies in Form eines Unboxing nochmals sehr ausführlich erklärt.
Windeisenhalter werden ja üblicherweise für Gewindeschneider verwendet, jeder Mechaniker wird es kennen. Es gibt jedoch auch eine Spanlose Variante Gewinde in ein Material zu bringen von M1 - M27, dies funktioniert bei Leichtmetallen, Buntmetallen und Stähle bis zu einer Festigkeit von 1200N/mm2. Die Rede ist dabei von Gewindeformern oder Gewindefurchern.
Teilen mit:
- Klick, um auf Facebook zu teilen (Wird in neuem Fenster geöffnet) Facebook
- Klicken, um einem Freund einen Link per E-Mail zu senden (Wird in neuem Fenster geöffnet) E-Mail
- Klick, um auf Pinterest zu teilen (Wird in neuem Fenster geöffnet) Pinterest
- Klick, um auf Reddit zu teilen (Wird in neuem Fenster geöffnet) Reddit
- Klicken, um auf WhatsApp zu teilen (Wird in neuem Fenster geöffnet) WhatsApp
- Klick, um auf Pocket zu teilen (Wird in neuem Fenster geöffnet) Pocket
- Klick, um auf Tumblr zu teilen (Wird in neuem Fenster geöffnet) Tumblr
- Klicke, um auf X zu teilen (Wird in neuem Fenster geöffnet) X
- Klicken, um auf Telegram zu teilen (Wird in neuem Fenster geöffnet) Telegram
- Klick, um auf LinkedIn zu teilen (Wird in neuem Fenster geöffnet) LinkedIn
- Mehr












































































































































































